與大型汽車制造商們在電動車上使用數百個大型電池芯不同,特斯拉使用的是數千個小型電池芯。此類電池芯,如大型電池芯一樣,因能量輸入和輸出,需要避免發燙。特斯拉電動車電池也有一些過熱問題,但是問題不大。
但并不意味著特斯拉沒有嘗試改進其電池組。據外媒報道,上周,美國專利商標局(U.S. Patent & Trademark Office)發布了特斯拉提交了一份專利申請,名為“電池組冷卻高壓電解”(High Voltage Electrolysis of Coolant in a Battery Pack)。

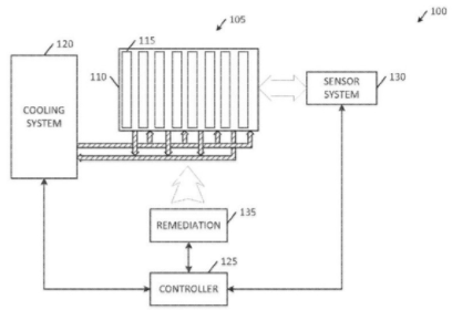
該電池冷卻專利描述了一種新型冷卻系統,該系統使用含有兩種不同液體的冷卻劑溶液。兩種液體混合在一起,形成新液體,然后隨著液體混合預設比率的變化,混合液體會有不同沸點。冷卻系統的傳感器監控電池模塊高壓電解情況,并可自動修復,以降低高壓電解時可能的風險。該專利的目的就是限制單個電池芯和電池模塊可能存在的過熱工況。
該專利申請表示,一旦過熱反應開始,過熱就會在整個電池組內或者電池組內一部分蔓延,直到過熱電池充分冷卻,否則整個電池組或部分電池組會被耗盡。但是,電池必須加熱到200攝氏度才可釋放能量。雖然高壓電解造成電池過熱的風險很大,但是另一風險,即電解化學反應,產生氫氣也會出現。某些條件下,電解過程中釋放的氫氣會積聚在電池組內部,會造成威脅。
針對上述問題常規解決方案是,一旦乘客和路人離開車輛,就讓高壓電解繼續進行,因為安全停止電池高壓電解很難。因此,需要有一個裝置和方法,用于檢測和響應電動車電池內高壓電解情況,以限制各個電池單元和模塊過熱。

電池網微信












