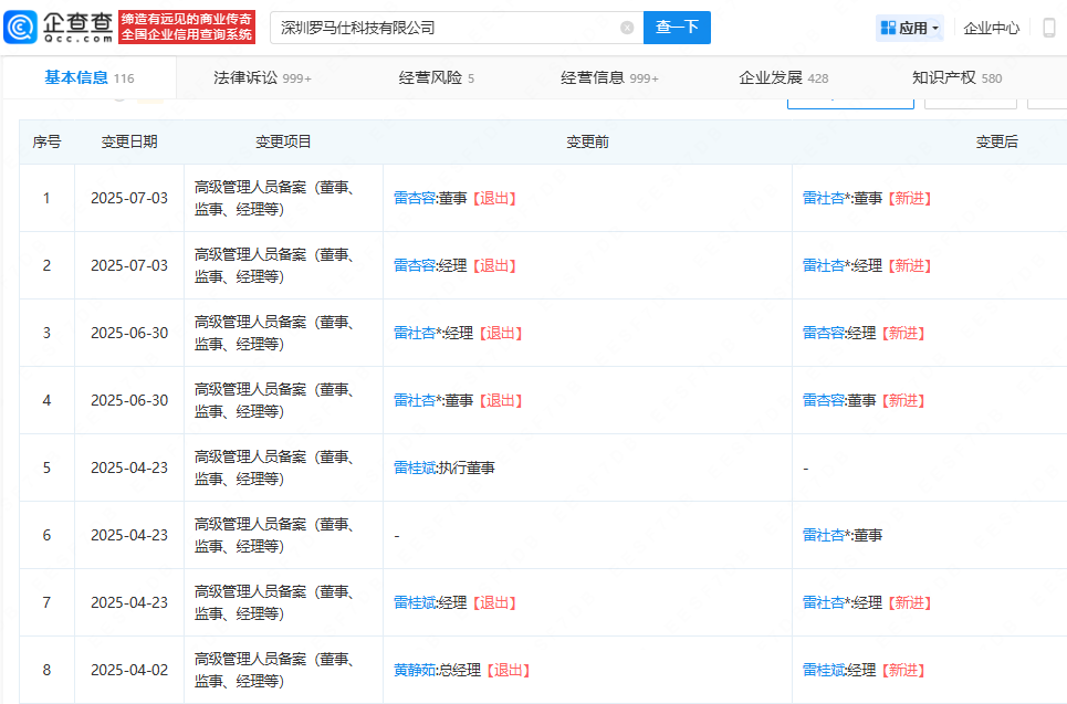
7月3日,深圳羅馬仕科技有限公司發生工商變更,雷杏容卸任法定代表人、董事、經理,由雷社杏接任。值得注意的是,6月30日,該公司將法定代表人、董事、經理由雷社杏變更為雷杏容,4月23日,公司法定代表人、經理等高管由雷桂斌變更為雷社杏。

羅馬仕發生工商變更

企查查顯示,7月3日,深圳羅馬仕科技有限公司(簡稱“羅馬仕”)發生工商變更,雷杏容卸任法定代表人、董事、經理,由雷社杏接任。值得注意的是,6月30日,該公司將法定代表人、董事、經理由雷社杏變更為雷杏容,4月23日,公司法定代表人、經理等高管由雷桂斌變更為雷社杏。

對于因充電寶召回風波站上風口浪尖的羅馬仕,高管在一個月內三次變更的頻繁動作,難免引發外界對其經營穩定性的猜測。從雷桂斌到雷社杏,再到雷杏容與雷社杏的快速交替,這種密集的人事調整,疊加此前的安全風波與產品召回,讓市場對品牌現狀的關注度持續升溫,甚至出現“經營承壓”“瀕臨倒閉”的傳言。就在各方猜測發酵之際,7月3日深夜,羅馬仕稱:“沒有倒閉,感謝關心。定將努力解決所有朋友、用戶及合作伙伴的一切問題。”

值得一提的是,當前搜索多個購物平臺羅馬仕官方店發現,店內已搜不到充電寶等商品,僅剩充電頭、數據線。

此前羅馬仕方也回應稱,目前公司正在安排整改,先梳理內部,公司全部精力都聚焦產業鏈自檢,為新品做準備。

7月4日最新消息顯示,羅馬仕申請的“充電器”外觀專利獲授權。據悉,本產品主要用于給電子設備充電,設計要點在于形狀。

資料顯示,羅馬仕創立于2012年,是廣東深圳的一家國家高新技術企業。羅馬仕專注于充電領域,成功布局了移動電源、戶外電源、數據充電線、電源適配器等9大產品線,品牌產品年出貨量達到5000萬件以上,是全球熱銷的移動電源品牌之一,并在東亞、東南亞、南非等地區銷量領先同類品牌,每天為數億智能移動終端提供電量續航服務。

ABEC 2025

[責任編輯:張倩]

免責聲明:本文僅代表作者個人觀點,與電池網無關。其原創性以及文中陳述文字和內容未經本網證實,對本文以及其中全部或者部分內容、文字的真實性、完整性、及時性,本站不作任何保證或承諾,請讀者僅作參考,并請自行核實相關內容。涉及資本市場或上市公司內容也不構成任何投資建議,投資者據此操作,風險自擔!

凡本網注明?“來源:XXX(非電池網)”的作品,凡屬媒體采訪本網或本網協調的專家、企業家等資源的稿件,轉載目的在于傳遞行業更多的信息或觀點,并不代表本網贊同其觀點和對其真實性負責。

如因作品內容、版權和其它問題需要同本網聯系的,請在一周內進行,以便我們及時處理、刪除。新聞熱線:400-6197-660-1

電池網微信