
蘋果公司的柔性iPhone概念圖
在研發保密方面,美國專利局算得上是科技企業的頭號敵人,如今它再次走漏了風聲:蘋果公司為柔性甚至可折疊iPhone申請了專利。
眼尖的AppleInsider網站用戶發現,本周美國專利商標局(USPTO)授予了蘋果公司一項“柔性電子設備”專利,該專利包羅廣泛,“可能涵蓋柔性顯示屏、柔性外殼,以及一個或多個能讓柔性電子設備變形的內部柔性組件。”
蘋果公司在申請文件中提供了大量概念圖,使我們深信不疑:蘋果正考慮將該技術用于iPhone……
從里到外的柔性組件
也許這項專利最讓人感興趣的是蘋果在可折疊設備領域的研究深度。蘋果不僅詳細說明了柔性玻璃和柔性底盤構造,還有包括可彎曲的電路板甚至電池在內的全部柔性內部構件。
相比之下,LG G Flex、G Flex 2和三星Galaxy Round等現有的柔性設備雖具有柔性屏幕和柔性底盤,但內部組件卻不能彎折。因此,Galaxy Round手機不得不配上一塊比Galaxy Note 3更小的電池——Galaxy Note 3是Galaxy Round的設計基礎。
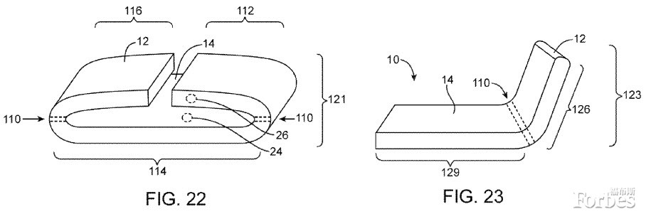
可折疊設計以及壓力控制
進一步深挖該專利,蘋果公司還圖解了拍拍手環(slap bracelet)式的一些設計以及基于壓力的控制,向未來進行更多探索。其中拍拍手環式設計可能會成為iPhone及可穿戴產品的最終發展形式。

蘋果拍拍手環式的設計概念
當然,蘋果在實現這些設計方面進展到何程度,這點只能全憑猜測。這項專利申請是在2011年9月最初提交的,如此看來蘋果這方面的工作已經開展了一段時間,但該公司剛對iPhone手機做了迄今為止最大改動,據蘋果推出柔性產品似乎至少還要再等上幾年。不管怎樣,這顯示出面對競爭對手所體現的柔性手機壯大趨勢,蘋果公司不會無動于衷。
所有這一切令我們想到了“彎曲門”的玩笑:一些人認為蘋果的首款柔性iPhone手機已經發布了。

電池網微信












